ISO Yük Konteyner Yedek Parçaları

ISO Yük Konteyner Yedek Parçaları

ISO Standartlarına Uygun Konteyner Yedek Parça Çözümleri

ISO yük konteyner yedek parçaları; deniz, kara ve demiryolu taşımacılığında kullanılan konteynerlerin bakım, onarım ve üretim süreçlerinde kritik rol oynar. Ürünlerimiz ISO 1161, CSC ve uluslararası taşımacılık standartlarına uygun olarak üretilmektedir.

Twistlock kilit aparatları, corner casting (köşe dökümü), kapı direkleri, menteşe sistemleri, şase zemin destek elemanları ve 2mm yan panel çözümlerimiz yüksek mukavemetli çelikten imal edilir. Konteyner yapısal bütünlüğünü korur, güvenli istifleme ve taşıma performansını garanti altına alır.

Yedek parça grubumuz; konteyner üreticileri, tamir atölyeleri ve proje firmaları için stoklu ve özel üretim seçenekleriyle sunulmaktadır.

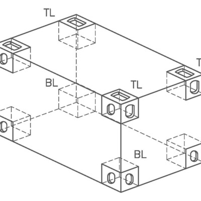
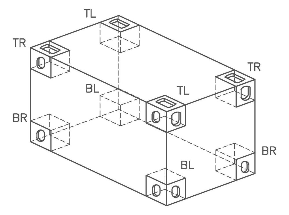
Köşe Dökümü (Corner Casting)

Konteynerlerin üst ve alt köşe noktalarında bulunan, taşıma ve istifleme sırasında yükü karşılayan temel yapısal elemandır. ISO standardına uygun olarak üretilir.

Teknik Özellikler:

  • ISO 1161 standardı
  • Yüksek karbonlu döküm çelik
  • Üst ve alt tip seçenekleri
  • Kaynaklanabilir tasarım

Twistlock Kilit Aparatı

ISO konteynerlerin gemi, treyler ve tren platformlarına güvenli şekilde sabitlenmesini sağlayan mekanik kilit sistemidir. Yüksek mukavemetli döküm çelikten üretilir ve ISO 1161 köşe dökümleri ile tam uyumludur.

Teknik Özellikler:

  • ISO 1161 uyumlu
  • Döküm çelik gövde
  • Manuel ve otomatik seçenek
  • Yüksek çekme ve kesme dayanımı

ISO KONTEYNER YAPISAL SAC VE PROFİL PARÇALARI

ISO yük konteyner üretiminde kullanılan yapısal sac ve profil elemanları, konteynerin taşıma kapasitesini, istiflenebilirliğini ve uzun ömürlü kullanımını belirleyen temel bileşenlerdir. Bu parçalar yüksek mukavemetli çelikten üretilir ve uluslararası taşımacılık standartlarına uygun olarak tasarlanır.

Roof Panel (Tavan Paneli)
Konteyner üst yüzeyini oluşturan dalgalı formdaki çelik paneldir. Corten veya yüksek dayanımlı çelikten üretilir. Dış ortam koşullarına, yağışa ve yük basıncına karşı dayanıklıdır.

Side Panel (Yan Panel)
Konteyner yan duvarlarını oluşturan sac panellerdir. Genellikle 2 mm ve üzeri kalınlıklarda üretilir. Yapısal rijitliği artırır ve darbelere karşı dayanım sağlar.

Door Panel (Kapı Paneli)
Arka kapı sisteminde kullanılan güçlendirilmiş panel yapısıdır. Kilit sistemleri ile birlikte çalışarak güvenli kapatma sağlar.

Bottom Side Rail (Alt Yan Şase Profili)
Konteyner alt şase sisteminin önemli bir parçasıdır. Yükün zemine dengeli aktarılmasını sağlar ve alt yapıyı güçlendirir.

Top Side Rail (Üst Yan Şase Profili)
Yan paneller ile tavan paneli arasında bağlantı sağlayan taşıyıcı profildir. Üst yapı dayanımını artırır.

Front Corner Post (Ön Köşe Dikmesi)
Konteyner ön köşelerinde bulunan ana taşıyıcı dikmedir. Yük transferinde kritik rol oynar.

Corner Post Inner ve Corner Post Outer (İç ve Dış Köşe Dikmesi)
Çift cidarlı taşıyıcı sistemdir. Konteynerin dikey yük taşıma kapasitesini artırır.

Door Sill (Kapı Alt Eşiği)
Kapı alt kısmında kullanılan güçlendirilmiş profil elemanıdır. Yük giriş çıkışlarında dayanım sağlar.

Door Locking Bar (Kapı Kilit Çubuğu)
Konteyner kapılarının mekanik olarak kilitlenmesini sağlayan çubuk sistemidir. Güvenli kapama ve mühürleme imkanı sunar.

Corner Casting (Köşe Dökümü)
ISO 1161 standardına uygun döküm çelik bağlantı elemanıdır. Konteynerlerin taşınması, istiflenmesi ve twistlock sistemi ile sabitlenmesinde kullanılır.

Seal Gasket (Kapı Contası)
Su ve hava sızdırmazlığı sağlayan EPDM esaslı conta sistemidir. Yükün dış etkenlerden korunmasını sağlar.

ISO KONTEYNER DONANIM VE MONTAJ PARÇALARI

ISO konteyner donanım parçaları; kapı sistemleri, havalandırma elemanları ve bağlantı aparatlarından oluşur. Konteynerin güvenli kullanımını ve uzun ömürlü performansını destekler.

Kapı Menteşesi
Ağır hizmet tipi galvanizli çelik menteşe sistemidir. Yoğun kullanım ve dış ortam koşullarına dayanıklıdır.

Havalandırma Kapağı
Konteyner içindeki hava sirkülasyonunu sağlar. Nem oluşumunu ve yoğuşmayı azaltarak yük güvenliğini artırır.

Kilit Mekanizması ve Aksesuarları
Kapı kilitleme sistemine ait bağlantı aparatları ve montaj elemanlarıdır. Güvenli taşıma için kritik öneme sahiptir.

Köşe Döküm Parçaları
ISO uyumlu döküm çelik bağlantı bloklarıdır. Twistlock sistemleri ile tam uyumludur.

Kapı Contası
Yüksek elastikiyete sahip sızdırmazlık elemanıdır. Dış ortamdan gelebilecek su ve toz girişini engeller.

Montaj ve Bağlantı Aparatları
Kapı sistemleri, paneller ve şase birleşimlerinde kullanılan bağlantı elemanlarıdır. Yapısal bütünlüğü destekler.

Bizimle İletişime Geçin