Konteyner Bağlantı Elemanları

Konteyner Bağlantı Elemanları

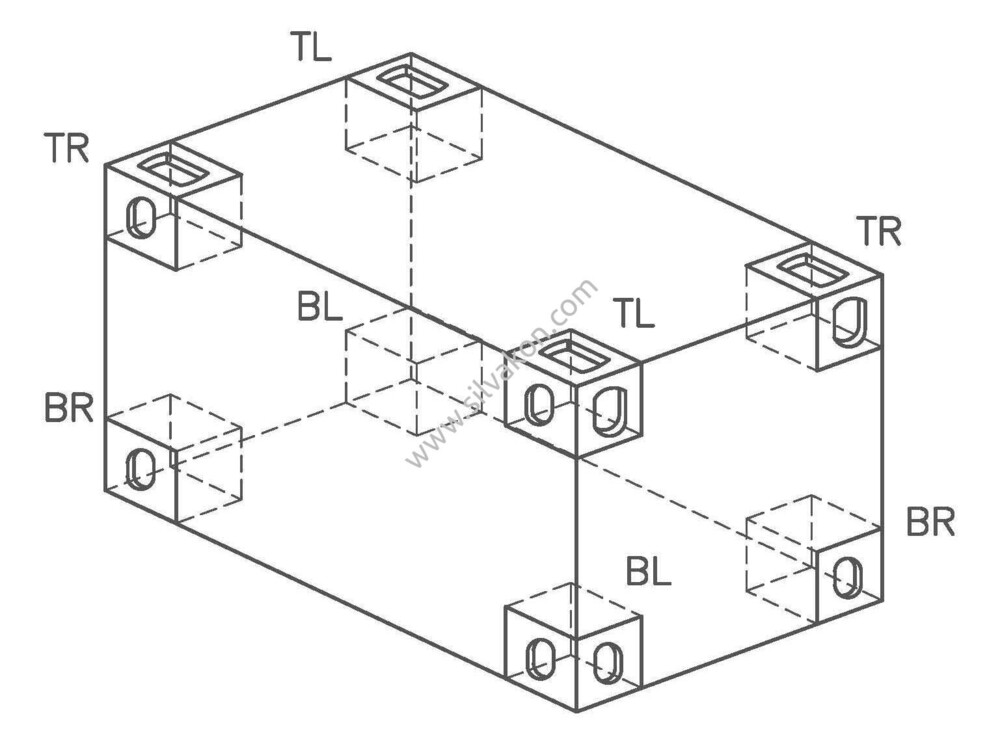
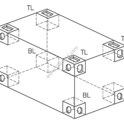
KONTEYNER KÖŞE BAĞLANTI ELEMANI ( CORNER FITTINGS)

Konteynerlerin güvertede, limanda veya farklı bir yerde güvenle istiflenip güvenlik altına alınması gerekmektedir. Bu amaçla konteynerlerin alt ve üst bütün köşe noktalarında kullanılan güvenlik elamanlarına KONTEYNER KÖŞE BAĞLANTI ELEMANI (CORNER FITTINGS) denir.

TWİSTLOCK

Konteynerlerin köşe noktalarında bulunan köşe bağlantı elemanları içerisine geçerek konteynerleri birbirine bağlayan mekanik parçaya verilen isimdir.

Twistlock’ lar sayesinde konteynerler güvenli bir biçimde istiflenir ve taşınır.

TWİSTLOCK
Bizimle İletişime Geçin